Status: Gjeldende
Versjon: 2.0.4
Publisert: 2022-12-09 (v.2.0.0)
Oppdatert: 2025-08-22 (v.2.0.x, se endringslogg)
Gjeldende versjon: https://data.norge.no/specification/tbx-ap-no/
Forrige versjon: https://data.norge.no/specification/tbx-ap-no/v1
Redaktørens utkast: https://informasjonsforvaltning.github.io/tbx-ap-no/
| Dette dokumentet kan også lastes ned som PDF. |
|
Innmelding av feil og mangler: Dersom du finner feil eller mangler i dokumentet, ber vi om at dette meldes inn på Github Issues. Dersom du ikke allerede har bruker på Github kan du opprette bruker gratis. |
Forord
Som en anbefalt standard inngår denne standarden i bruksområdet Omgrepsanalyse og definisjonsarbeid i Referansekatalogen. Referansekatalogen er en oversikt over obligatoriske og anbefalte IT-standarder i forvaltningen. Obligatoriske standarder skal følges av alle virksomheter. Anbefalte standarder skal følges hvis virksomhetene ikke har en god grunn til å la være å følge dem.
Denne standarden er utarbeidet i henhold til arbeidsmetodikken til Arkitektur- og standardiseringsrådet, av en arbeidsgruppe ledet av Digitaliseringsdirektoratet.
1. Om denne standarden
1.1. Formål
Det er et uttrykt ønske, både fra regjeringshold og fra offentlig sektor, at ulike deler av forvaltningen skal kunne gjenbruke hverandres informasjon i større grad. I regjeringens digitaliseringsstrategi for offentlig sektor 2019–2025 leser vi:
-
Brukerne skal unngå å oppgi informasjon som det offentlige allerede har innhentet. Økt deling av data er også en forutsetning for utvikling av sammenhengende tjenester på tvers av sektorer og forvaltningsnivåer. Offentlig sektor skal dele data når den kan og skjerme data når den må. Åpne offentlige data skal gjøres tilgjengelig for viderebruk til utvikling av nye tjenester og verdiskaping i næringslivet.
Når offentlige organer legger ut data til deling og viderebruk, er det viktig at de forklarer nøye hva de tilbyr. De bør derfor knytte dataene til begreper, som må være definert slik at mottakere kan forstå hva slags opplysninger dette er, hva de betyr, og hva de kan (og ikke kan) brukes til. Begrepsarbeid er dermed en forutsetning for deling av data med andre virksomheter.
Standarden skal sikre at begreper som forvaltes av offentlig forvaltning, beskrives og tilgjengeliggjøres på en standardisert og maskinlesbar måte, slik at virksomheter enklere kan ta i bruk og bygge videre på begrepsarbeid som andre har gjort.
1.2. Omfang og avgrensinger
Standarden spesifiserer hvordan begrepsbeskrivelser som er utformet i henhold til kravene i kapittel 2 i Forvaltningsstandard for begrepsbeskrivelser (SKOS-AP-NO-Begrep), gjøres tilgjengelige i maskinlesbare formater i henhold til ISO-standarden TBX. Standarden spesifiserer ikke krav til et eventuelt IT-system for å forvalte begrepsbeskrivelser.
Standarden brukes når en virksomhet skal tilgjengeliggjøre begrepsbeskrivelser som de selv forvalter, i et maskinlesbart format og i henhold til TBX-standarden. Standarden er basert på og ikke en direkte oversettelse av ISO-standarden TBX. Standarden er en norsk applikasjonsprofil av TBX, derfor kortnavnet TBX-AP-NO. Engelske navn og tekster som er tatt med i standarden, er ikke alle nødvendigvis ordrette sitater fra engelske kilder. Vi kan ha valgt en annen engelsk tekst til å formidle det samme budskapet på, med mindre vi eksplisitt sier at det er et avvik (dvs. også i meningsinnholdet). Engelske navn og tekster er primært ment for engelsktalende utviklere av verktøystøtte.
Se ellers bruksområdet Omgrepsanalyse og definisjonsarbeid i Referansekatalogen for andre aktuelle standarder og veiledere, bl.a. kapittel 3 i Forvaltningsstandard for begrepsbeskrivelser (SKOS-AP-NO-Begrep) som spesifiserer hvordan beskrivelser av begreper og begrepssamlinger gjøres tilgjengelige i maskinlesbare formater i henhold til RDF/SKOS.
1.3. Målgrupper
Standarden er primært for deg som skal utvikle/tilpasse verktøystøtte for tilgjengeliggjøring av begrepsbeskrivelser i henhold ISO-standarden TBX.
1.4. Forvaltningsregime
Standarden forvaltes av Digitaliseringsdirektoratet (Digdir).
Digdir håndterer mindre endringer. Ved behov for større endringer vil Digdir sette sammen en arbeidsgruppe med representanter fra aktuelle virksomheter. Arbeidsgruppen utarbeider forslag til den reviderte versjonen som sendes ut på åpen høring før fastsetting.
1.5. Kravnivåene i denne standarden
Standarden bruker ordene «obligatorisk», «anbefalt» og «valgfri». Disse er forklart i DCAT-AP-NO og forklaringene gjentas ikke her.
1.6. Hvordan du leser denne standarden
Standarden bruker ordet «skriftspråk». Norsk har to skriftspråk: bokmål og nynorsk. Disse skriftspråkene er likeverdige, og i offentlig sektor er de likestilte.
Denne standarden bruker stilen DCT (Data Category as Tag). Se Data Category as Attribute / Data Category as Tag for forskjellen mellom DCT og DCA, og DCA-DCT Converter for konvertering mellom disse.
Kravene er spesifisert i en tabell som inneholder syntaks og forklaring. Radene i tabellene er beskrevet nedenfor. Noen tabeller har færre rader. Engelske navn og tekster er kursivert. De er ikke alle nødvendigvis ordrette sitater fra engelske kilder. Vi kan ha valgt en annen engelsk tekst til å formidle det samme budskapet, med mindre vi eksplisitt sier at det er et avvik.
Ledetekst i tabellen |
Hensikt med raden i tabellen |
Navn / Name |
Norsk og engelsk egenskapsnavn. |
Datakategori / Data category |
Datakategorinavn som skal brukes i utvekslingen, oppgitt i DCT-stilen. Eksempel: |
PID |
En persistent identifikator til egenskapen. Dette for at man skal kunne referere til en felles spesifikasjon, og dermed felles forståelse og bruk av egenskapen. NB! Ikke alle PID-lenker gir menneskevennlige visninger. Eksempel: |
TBX-nivå / TBX level |
Nivå i TBX-strukturen egenskapen brukes på. |
TBX-klassifisering / TBX classification |
Elementet som er brukt til å klassifisere data kategorier som har tilsvarende hensikt. Eksempel: Elementet |
Verdiområde / Range |
Lovlige verdier som egenskapen kan ha. |
Anvendelse / Usage note |
Forklaring på norsk og engelsk, på hva egenskapen er ment å brukes til, i kontekst av denne standarden. |
Multiplisitet / Multiplicity |
Minimum og maksimum antall verdier egenskapen skal/bør/kan ha. |
Kravnivå / Requirement level |
Om egenskapen er obligatorisk/mandatory, anbefalt/recommended eller valgfri/optional. Se også 1.5, “Kravnivåene i denne standarden”. |
Merknad / Note |
Merknad på norsk og engelsk, knyttet til bruk av egenskapen, bl.a. om det er krav til bruk av kontrollerte vokabularer (picklist), osv. |
Hvordan den enkelte egenskapen brukes i TBX, er eksemplifisert under den aktuelle tabellen. Eksemplene er deskriptive. Ikke alle eksempler er komplette, slik at de kan mangle verdi for obligatoriske egenskaper. Eksemplene kan også inneholde fiktive data.
2. Normative referanser
-
Kapittel 2 i Forvaltningsstandard for begrepsbeskrivelser (SKOS-AP-NO-Begrep): Kapittelet stiller krav til hva som skal/bør/kan tas med når et begrep eller en begrepssamling beskrives.
-
NS-ISO 30042:2019 Management of terminology resources - TermBase eXchange (TBX): Standarden definerer et rammeverk for bl.a. hvordan (samlinger av) begrepsbeskrivelser skal kunne utveksles i maskinlesbare formater.
3. Generelle krav til bruk av standardiserte formater
Det anbefales å bruke standardiserte formater til å representere følgende datatyper, i intern lagring og maskinell tilgjengeliggjøring eksternt:
-
Dato: NS-ISO 8601 brukes for intern lagring og maskinell tilgjengeliggjøring eksternt, som
ÅÅÅÅ-MM-DD. -
URI: Se kravene i bruksområdet “Peikarar til offentlege ressursar på nett” i Referansekatalogen.
-
Kontaktpunkt (vcard): Se spesifikasjon fra W3C, vCard Ontology - for describing People and Organizations.
-
Tekst: Se kravene i bruksområdet “Publisering av tekstdokumenter” i Referansekatalogen.
4. Krav til TBX-representasjon av et begrep
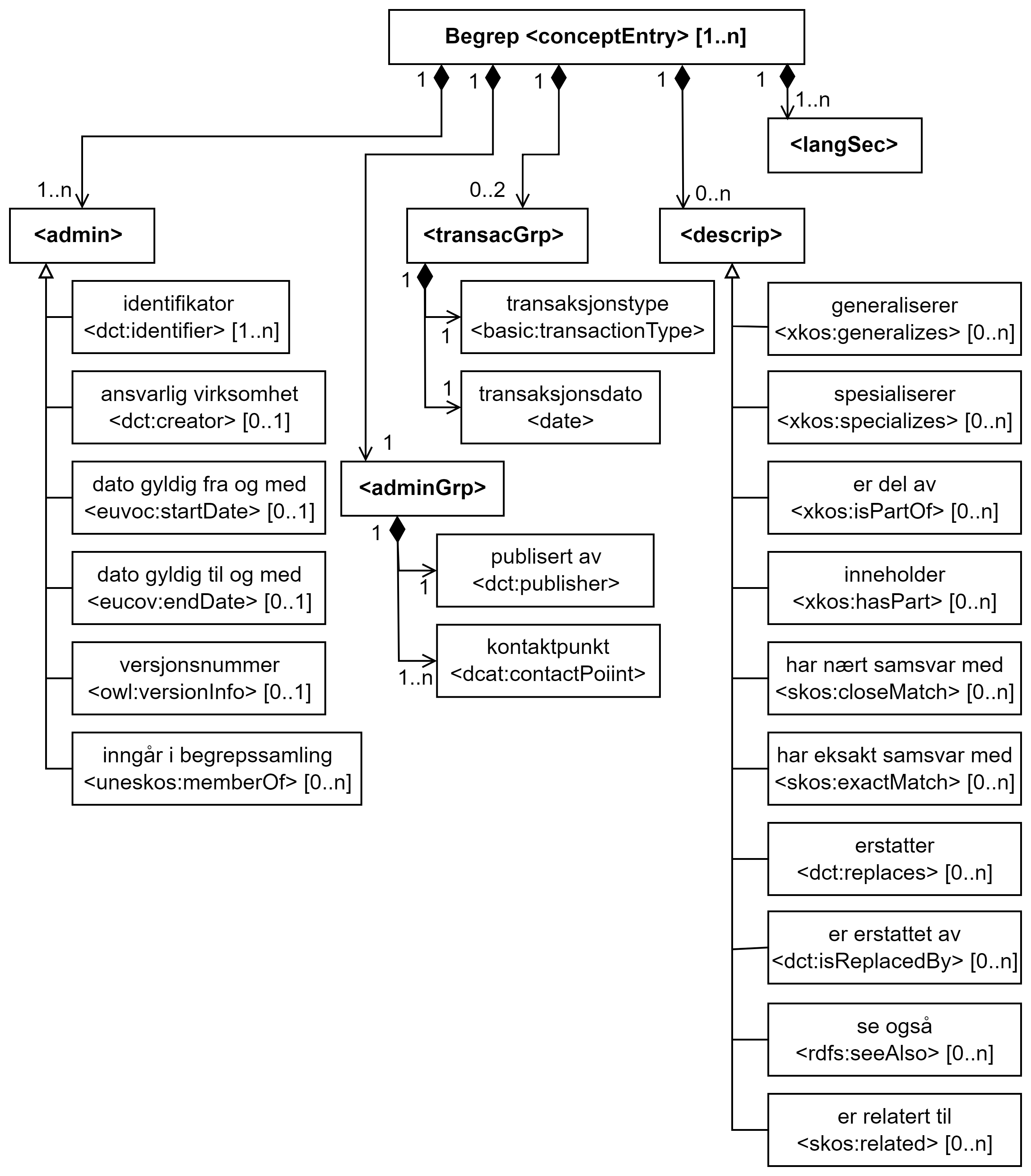
4.1. <conceptEntry> (1..n)
<conceptEntry> er obligatorisk og skal brukes til å representere ett gitt begrep. De ulike delene av <conceptEntry> vil bli spesifisert i de etterfølgende avsnittene.
Restriksjon: I henhold til TBX skal <conceptEntry>-start-taggen inneholde en id til begrepet.
<conceptEntry> is mandatory and shall be used to represent one given concept. The various parts of <conceptEntry> will be specified in the following sections.
Restriction: According to TBX, the <conceptEntry> start tag shall contain an id to the concept entry.
Eksempel i TBX-AP-NO (DCT style):
<conceptEntry id="cid-1">
</conceptEntry>
4.2. <conceptEntry> | <admin> (1..n)
<admin> brukes her til å oppgi ulike administrative opplysninger om begrepet.
<admin> is used here to specify various administrative information about the concept.
4.2.1. Begrep – identifikator <dct:identifier> (1..n)
Navn / Name |
identifikator / identifier |
Datakategori / Data category |
dct:identifier |
PID |
|
TBX-nivå / TBX level |
conceptEntry |
TBX-klassifisering / TBX Classification |
admin |
Verdiområde / Range |
xref |
Anvendelse / Usage note |
Egenskapen brukes til å oppgi identifikator til begrepet, som en URI. This property is used to specify an identifier to the concept, as a URI. |
Multiplisitet / Multiplicity / Multiplicity |
1..n |
Kravnivå / Requirement level |
Obligatorisk / Mandatory |
Eksempel i TBX-AP-NO (DCT style), NAVs begrep 975 («mødrekvote»):
<conceptEntry id="BEGREP-975">
<dct:identifier>https://data.norge.no/concepts/6bd8baed-c9d7-4dbc-b850-78ceeebdc1d5</dct:identifier>
</conceptEntry>
4.2.2. Begrep – ansvarlig virksomhet <dct:creator> (0..1)
Navn / Name |
ansvarlig virksomhet / responsible organization |
Datakategori / Data category |
dct:creator |
PID |
|
TBX-nivå / TBX level |
conceptEntry |
TBX-klassifisering / TBX Classification |
admin |
Verdiområde / Range |
xref |
Anvendelse / Usage note |
Egenskapen brukes til å referere til virksomheten som er ansvarlig for beskrivelsen av begrepet, og som ikke er den samme som 4.3.1, “Begrep – publisert av <dct:publisher> (1..1)”. This property is used to refer to the organization responsible for the description of the concept, which is not the same as 4.3.1, “Begrep – publisert av <dct:publisher> (1..1)”. |
Multiplisitet / Multiplicity |
0..n |
Kravnivå / Requirement level |
Anbefalt / Recommended |
4.2.3. Begrep – dato gyldig fra og med <euvoc:startDate> (0..1)
Navn / Name |
dato gyldig fra og med / date valid from, inclusive |
Datakategori / Data category |
euvoc:startDate |
PID |
|
TBX-nivå / TBX level |
conceptEntry |
TBX-klassifisering / TBX Classification |
admin |
Verdiområde / Range |
String |
Anvendelse / Usage note |
Egenskapen brukes til å oppgi hvilken dato begrepet er gyldig fra og med. This property is used to specify the date (inclusive) from which the concept is valid. |
Multiplisitet / Multiplicity |
0..1 |
Kravnivå / Requirement level |
Anbefalt / Recommended |
Eksempel i TBX-AP-NO (DCT style), for et fiktivt eksempelbegrep:
<conceptEntry id="cid-1">
<euvoc:startDate>2020-07-31</euvoc:startDate>
</conceptEntry>
4.2.4. Begrep – dato gyldig til og med <euvoc:endDate> (0..1)
Navn / Name |
dato gyldig til og med / date valid through, inclusive |
Datakategori / Data category |
euvoc:endDate |
PID |
|
TBX-nivå / TBX level |
conceptEntry |
TBX-klassifisering / TBX Classification |
admin |
Verdiområde / Range |
String |
Anvendelse / Usage note |
Egenskapen brukes til å oppgi hvilken dato begrepet er gyldig til og med. This property is used to specify the date (inclusively) through which the concept is valid. |
Multiplisitet / Multiplicity |
0..1 |
Kravnivå / Requirement level |
Anbefalt / Recommended |
Eksempel i TBX-AP-NO (DCT style), for et fiktivt eksempelbegrep:
<conceptEntry id="cid-1">
<euvoc:endDate>2020-12-31</euvoc:endDate>
</conceptEntry>
4.2.5. Begrep – versjonsnummer <owl:versionInfo> (0..1)
Navn / Name |
versjonsnummer / version number |
Datakategori / Data category |
owl:versionInfo |
PID |
|
TBX-nivå / TBX level |
conceptEntry |
TBX-klassifisering / TBX Classification |
admin |
Verdiområde / Range |
String |
Anvendelse / Usage note |
Egenskapen brukes til å oppgi versjonsnummeret til begrepet. This property is used to specify the version number of the concept. |
Multiplisitet / Multiplicity |
0..1 |
Kravnivå / Requirement level |
Valgfri / Optional |
Eksempel i TBX-AP-NO (DCT style), for et fiktivt eksempelbegrep:
<conceptEntry id="cid-1">
<owl:versionInfo>1.0.1</owl:versionsInfo>
</conceptEntry>
4.2.6. Begrep – inngår i begrepssamling <uneskos:memberOf> (0..n)
Navn / Name |
inngår i begrepssamling / member of |
Datakategori / Data category |
uneskos:memberOf |
PID |
http://purl.org/umu/uneskos#memberOf |
TBX-nivå / TBX level |
conceptEntry |
TBX-klassifisering / TBX Classification |
admin |
Verdiområde / Range |
ref or xref |
Anvendelse / Usage note |
Egenskapen brukes til å referere til begrepssamlingen begrepet inngår i. This property is used to refer to the concept collection that the concept is a member of. |
Multiplisitet / Multiplicity |
0..n |
Kravnivå / Requirement level |
Valgfri / Optional |
Eksempel i TBX-AP-NO (DCT style), for et fiktivt eksempelbegrep:
<conceptEntry id="cid-1">
<uneskos:memerOf>https://example.org/exampleConceptCollection</uneskos:memberOf>
</conceptEntry>
4.3. <conceptEntry> | <adminGrp> (1..1)
Denne <adminGrp> er obligatorisk og skal brukes til å oppgi opplysninger om virksomheten som har publisert begrepet, inkl. kontaktpunkt til virksomheten.
This <adminGrp> is mandatory and shall be used til specify information about the organization that has published the concept, incl. contact point to the organization.
4.3.1. Begrep – publisert av <dct:publisher> (1..1)
Navn / Name |
publisert av / publisher |
Datakategori / Data category |
dct:publisher |
PID |
|
TBX-nivå / TBX level |
conceptEntry |
TBX-klassifisering / TBX Classification |
admin |
Verdiområde / Range |
String |
Anvendelse / Usage note |
Egenskapen brukes til å referere til utgiveren av begrepet. This property is used to refer to the publisher of the concept. |
Multiplisitet / Multiplicity |
1..1 |
Kravnivå / Requirement level |
Obligatorisk / Mandatory |
Merknad 1 / Note 1 |
Denne egenskapen skal være i en This property shall be within an |
Merknad 2 / Note 2 |
Virksomhetens identifikasjonsnummer bør brukes, for eksempel Enhetsregisterets organisasjonsnummer. The organization’s identifier should be used, e.g. the organization number registered in the Central Coordinating Register for Legal Entities (CCR). |
Eksempel i TBX-AP-NO (DCT style), for NAVs begrep 975 («mødrekvote»):
<conceptEntry id="BEGREP-975">
<dct:publisher>https://organization-catalog.fellesdatakatalog.digdir.no/organizations/889640782</dct:publisher>
</conceptEntry>
4.3.2. Begrep – kontaktpunkt <dcat:contactPoint> (1..n)
Navn / Name |
kontaktpunkt / contact point |
Datakategori / Data category |
dcat:contactPoint |
PID |
|
TBX-nivå / TBX level |
conceptEntry |
TBX-klassifisering / TBX Classification |
adminNote |
Verdiområde / Range |
vcard:Organization or vcard:Group |
Anvendelse / Usage note |
Egenskapen brukes til å oppgi kontaktpunkt som kan nås ved f.eks. spørsmål om begrepet. This property is used to specify a contact point which may be reached in case of e.g. questions about the concept. |
Multiplisitet / Multiplicity |
1..n |
Kravnivå / Requirement level |
Obligatorisk / Mandatory |
Merknad 1 / Note 1 |
Denne egenskapen skal være i en This property shall be within an |
Merknad 2 / Note 2 |
Når det er ulike kontaktpunkter for ulike språk (f.eks. norske vs. internasjonale kontakter), skal det oppgis maks. ett kontaktpunkt per språk. When there are different contact points for different languages (e.g. Norwegian vs. international contacts), there shall be maximum one contact point per language. |
Eksempel i TBX-AP-NO (DCT style), for NAVs begrep 975 («mødrekvote»):
<conceptEntry id="BEGREP-975">
<dcat:contactPoint>
<vcard:Organization>
<vcard:hasEmail>mailto:begrepskatalogen@nav.no</vcard:hasEmail>
</vcard:Organization>
</dcat:contactPoint>
</conceptEntry>
4.4. <conceptEntry> | <transacGrp> (0..2)
Denne <transacGrp> er anbefalt og brukes til å oppgi datoen da begrepet ble opprettet eller datoen da begrepet sist ble oppdatert, som begge er anbefalte egenskaper.
This <transacGrp> is recommended and is used to specify the date when the concept was created or the date when the concept was last modified, which are recommended properties.
4.4.1. Begrep – transaksjonstype <basic:transactionType> (1..1)
Navn / Name |
transaksjonstype / transaction type |
Datakategori / Data category |
basic:transactionType |
PID |
|
TBX-nivå / TBX level |
conceptEntry |
TBX-klassifisering / TBX Classification |
transac |
Verdiområde / Range |
Picklist:
|
Anvendelse / Usage note |
Egenskapen brukes til å oppgi type transaksjon. This property is used to specify the transaction type. |
Multiplisitet / Multiplicity |
1..1 |
Kravnivå / Requirement level |
Obligatorisk / Mandatory |
Merknad / Note |
Denne egenskapen skal brukes i en This property shall be used in a |
Eksempel i TBX-AP-NO (DCT style), for et fiktivt eksempelbegrep:
<conceptEntry id="cid-1">
<transacGrp>
<basic:transactionType>basic:modification</basic:transactionType>
<date>2022-06-30</date>
</transacGrp>
</conceptEntry>
4.4.2. Begrep – transaksjonsdato <date> (1..1)
Navn / Name |
transaksjonsdato / transaction date |
Datakategori / Data category |
date |
PID |
|
TBX-nivå / TBX level |
conceptEntry |
TBX-klassifisering / TBX Classification |
date |
Verdiområde / Range |
String |
Anvendelse / Usage note |
Egenskapen brukes til å oppgi transaksjonsdatoen. This property is used to specify the transaction date. |
Multiplisitet / Multiplicity |
1..1 |
Kravnivå / Requirement level |
Obligatorisk / Mandatory |
Merknad / Note |
Denne egenskapen skal brukes i en This property shall be used in a |
Eksempel i TBX-AP-NO (DCT style): Se under 4.4.1, “Begrep – transaksjonstype <basic:transactionType> (1..1)”.
4.5. <conceptEntry> | <descrip> (0..n)
<descrip> her er valgfri og kan brukes til å beskrive ulike begrepsrelasjoner som alle er valgfrie egenskaper, når det ikke er behov for å beskrive relasjonene med ytterligere egenskaper. Bruk <descripGrp> i <langSec> når det er behov for ytterligere egenskaper for relasjonen.
The <descrip> here is optional and may be used to specify various concept relations which are all optional, when there is no need to describe the relations with additional information. Use <descripGrp> in <langSec> when there is a need for additional information about the concept relation.
4.5.1. Begrep – generaliserer <xkos:generalizes> (0..n)
Navn / Name |
generaliserer / generalizes |
Datakategori / Data category |
xkos:generalizes |
PID |
|
TBX-nivå / TBX level |
conceptEntry |
TBX-klassifisering / TBX Classification |
descrip |
Verdiområde / Range |
ref or xref |
Anvendelse / Usage note |
Egenskapen brukes til å referere til et annet begrep som dette begrepet generaliserer. Begrepet er det generiske begrepet og det andre begrepet er det spesifikke begrepet, i en generisk relasjon mellom disse. This property is used to refer to another concept that this concept generalizes. This concept is the generic concept and the other concept is the specific concept, in a generic concept relation between the two concepts. |
Multiplisitet / Multiplicity |
0..n |
Kravnivå / Requirement level |
Valgfri / Optional |
Merknad 1 / Note 1 |
Egenskapen/relasjonen kan også leses som «har spesifikt begrep». This property/relation may also be read as “has specific concept”. |
Merknad 2 / Note 2 |
Egenskapen/relasjonen er den motsatte av 4.5.2, “Begrep – spesialiserer <xkos:specializes> (0..n)”. This property/relation is the inverse of 4.5.2, “Begrep – spesialiserer <xkos:specializes> (0..n)”. |
Merknad 3 / Note 3 |
Bruk 4.12, “<langSec> | Generisk begrepsrelasjon <descripGrp> (0..n)” når det er behov for å beskrive inndelingskriterium. Use 4.12, “<langSec> | Generisk begrepsrelasjon <descripGrp> (0..n)” when there is a need to describe the criterion of subdivision. |
Eksempel i TBX-AP-NO (DCT style), for NAVs begrep 625 («ytelsesperiode») som generaliserer begrep 974 («foreldrepengeperiode»):
<conceptEntry id="BEGREP-625">
<xkos:generalizes>https://data.norge.no/concepts/4729eca4-f145-4518-8309-3e02a84dfc55</xkos:generalizes>
</conceptEntry>
4.5.2. Begrep – spesialiserer <xkos:specializes> (0..n)
Navn / Name |
spesialiserer / specializes |
Datakategori / Data category |
xkos:specializes |
PID |
|
TBX-nivå / TBX level |
conceptEntry |
TBX-klassifisering / TBX Classification |
descrip |
Verdiområde / Range |
ref or xref |
Anvendelse / Usage note |
Egenskapen brukes til å referere til et annet begrep som dette begrepet spesialiserer. Begrepet er det spesifikke begrepet og det andre begrepet er det generiske begrepet, i en generisk relasjon mellom disse. This property is used to refer to another concept that this concept specializes. This concept is the specific concept and the other concept is the generic concept, in a generic concept relation between the two concepts. |
Multiplisitet / Multiplicity |
0..n |
Kravnivå / Requirement level |
Valgfri / Optional |
Merknad 1 / Note 1 |
Egenskapen/relasjonen kan også leses som «har generisk begrep». This property/relation may also be read as “has generic concept”. |
Merknad 2 / Note 2 |
Egenskapen/relasjonen er den motsatte av 4.5.1, “Begrep – generaliserer <xkos:generalizes> (0..n)”. This property/relation is the inverse of 4.5.1, “Begrep – generaliserer <xkos:generalizes> (0..n)”. |
Merknad 3 / Note 3 |
Bruk 4.12, “<langSec> | Generisk begrepsrelasjon <descripGrp> (0..n)” når det er behov for å beskrive inndelingskriterium. Use 4.12, “<langSec> | Generisk begrepsrelasjon <descripGrp> (0..n)” when there is a need to describe the criterion of subdivision. |
Eksempel i TBX-AP-NO (DCT style), for NAVs begrep 974 («foreldrepengeperiode») som spesifiserer begrep 625 («ytelsesperiode»):
<conceptEntry id="BEGREP-625">
<xkos:specializes>https://data.norge.no/concepts/680b83b6-46f5-30f2-96f7-e36c4e5cf3d1</xkos:specializes>
</conceptEntry>
4.5.3. Begrep – er del av <xkos:isPartOf> (0..n)
Navn / Name |
er del av / is part of |
Datakategori / Data category |
xkos:isPartOf |
PID |
|
TBX-nivå / TBX level |
conceptEntry |
TBX-klassifisering / TBX Classification |
descrip |
Verdiområde / Range |
ref or xref |
Anvendelse / Usage note |
Egenskapen brukes til å knytte begrepet til et annet begrep som dette begrepet er del av. Begrepet er et delbegrep, og det andre begrepet er helhetsbegrepet, i en partitiv relasjon mellom disse. This property is used to refer to the concept that this concept is a part of. This concept is a partitive concept and the other concept is the comprehensive concept, in a partitive concept relation between the two concepts. |
Multiplisitet / Multiplicity |
0..n |
Kravnivå / Requirement level |
Valgfri / Optional |
Merknad 1 / Note 1 |
Egenskapen/relasjonen kan også leses som «har helhetsbegrep». This property/relation may also be read as “has comprehensive concept”. |
Merknad 2 / Note 2 |
Denne egenskapen/relasjonen er den motsatte av 4.5.4, “Begrep – inneholder <xkos:hasPart> (0..n)”. This property/relation is the inverse of 4.5.4, “Begrep – inneholder <xkos:hasPart> (0..n)”. |
Merknad 3 / Note 3 |
Bruk 4.13, “<langSec> | Partitiv begrepsrelasjon <descripGrp> (0..n)” når det er behov for å beskrive inndelingskriterium. Use 4.13, “<langSec> | Partitiv begrepsrelasjon <descripGrp> (0..n)” when there is a need to describe the criterion of subdivision. |
Eksempel i TBX-AP-NO (DCT style), for NAVs begrep 975 («mødrekvote») som er del av begrepet 974 («foreldrepengeperiode»):
<conceptEntry id="BEGREP-975">
<xkos:isPartOf>https://data.norge.no/concepts/4729eca4-f145-4518-8309-3e02a84dfc55</xkos:isPartOf>
</conceptEntry>
4.5.4. Begrep – inneholder <xkos:hasPart> (0..n)
Navn / Name |
inneholder / has part |
Datakategori / Data category |
xkos:hasPart |
PID |
|
TBX-nivå / TBX level |
conceptEntry |
TBX-klassifisering / TBX Classification |
descrip |
Verdiområde / Range |
ref or xref |
Anvendelse / Usage note |
Egenskapen brukes til å referere til et annet begrep som dette begrepet inneholder. Begrepet er helhetsbegrepet og det andre begrepet delbegrepet, i en partitiv relasjon mellom disse. This property is used to refer to the concept that this concept has as a part. This concept is the comprehensive concept and the other concept is the partitive concept, in a partitive concept relation between the two concepts. |
Multiplisitet / Multiplicity |
0..n |
Kravnivå / Requirement level |
Valgfri / Optional |
Merknad 1 / Note 1 |
Egenskapen/relasjonen kan også leses som «har delbegrep». This property/relation may also be read as “has partitive concept”. |
Merknad 2 / Note 2 |
Denne egenskapen/relasjonen er den motsatte av 4.5.3, “Begrep – er del av <xkos:isPartOf> (0..n)”. This property/relation is the inverse of 4.5.3, “Begrep – er del av <xkos:isPartOf> (0..n)”. |
Merknad 3 / Note 3 |
Bruk 4.13, “<langSec> | Partitiv begrepsrelasjon <descripGrp> (0..n)” når det er behov for å beskrive inndelingskriterium. Use 4.13, “<langSec> | Partitiv begrepsrelasjon <descripGrp> (0..n)” when there is a need to describe the criterion of subdivision. |
Eksempel i TBX-AP-NO (DCT style), for NAVs begrep 974 («foreldrepengeperiode») som inneholder begrep 975 («mødrekvote»), begrep 976 («fellesperiode») og begrep 1467 («fedrekvote»):
<conceptEntry id="BEGREP-974">
<xkos:hasPart>https://data.norge.no/concepts/6bd8baed-c9d7-4dbc-b850-78ceeebdc1d5</xkos:hasPart>
<xkos:hasPart>https://data.norge.no/concepts/13a8697d-177b-499b-8d22-9cee6741c025</xkos:hasPart>
<xkos:hasPart>https://data.norge.no/concepts/32d18d0e-c9d4-4785-b1e8-3612ffca8fb7</xkos:hasPart>
</conceptEntry>
4.5.5. Begrep – har nært samsvar med <skos:closeMatch> (0..n)
Navn / Name |
har nært samsvar med / has close match with |
Datakategori / Data category |
skos:closeMatch |
PID |
|
TBX-nivå / TBX level |
conceptEntry |
TBX-klassifisering / TBX Classification |
descrip |
Verdiområde / Range |
ref or xref |
Anvendelse / Usage note |
Egenskapen brukes til å referere til et annet begrep der det er nært samsvar mellom disse begrepene. This property is used to refer to another concept where there is a close match between the two concepts. |
Multiplisitet / Multiplicity |
0..n |
Kravnivå / Requirement level |
Valgfri / Optional |
Eksempel i TBX-AP-NO (DCT style), for et fiktivt eksempelbegrep:
<conceptEntry id="cid-1">
<skos:closeMatch>https://example.org/exConcept</skos:closeMatch>
</conceptEntry>
4.5.6. Begrep – har eksakt samsvar med <skos:exactMatch> (0..n)
Navn / Name |
har eksakt samsvar med / has exact match with |
Datakategori / Data category |
skos:exactMatch |
PID |
|
TBX-nivå / TBX level |
conceptEntry |
TBX-klassifisering / TBX Classification |
descrip |
Verdiområde / Range |
ref or xref |
Anvendelse / Usage note |
Egenskapen brukes til å referere til et annet begrep der det er eksakt samsvar mellom disse begrepene. This property is used to refer to another concept where there is an exact match between the two concepts. |
Multiplisitet / Multiplicity |
0..n |
Kravnivå / Requirement level |
Valgfri / Optional |
Eksempel i TBX-AP-NO (DCT style), for et fiktivt eksempelbegrep:
<conceptEntry id="cid-1">
<skos:exactMatch>https://example.org/exConcept</skos:exactMatch>
</conceptEntry>
4.5.7. Begrep – erstatter <dct:replaces> (0..n)
Navn / Name |
erstatter / replaces |
Datakategori / Data category |
dct:replaces |
PID |
|
TBX-nivå / TBX level |
conceptEntry |
TBX-klassifisering / TBX Classification |
descrip |
Verdiområde / Range |
ref or xref |
Anvendelse / Usage note |
Egenskapen brukes til å referere til et annet begrep som dette begrepet erstatter. This property is used to refer to another concept that this concept replaces. |
Multiplisitet / Multiplicity |
0..n |
Kravnivå / Requirement level |
Valgfri / Optional |
Merknad / Note |
Denne egenskapen/relasjonen er den motsatte av 4.5.8, “Begrep – er erstattet av <dct:isReplacedBy> (0..n)”. This property/relation is the inverse of 4.5.8, “Begrep – er erstattet av <dct:isReplacedBy> (0..n)”. |
Eksempel i TBX-AP-NO (DCT style), for et fiktivt eksempelbegrep:
<conceptEntry id="cid-1">
<dct:replaces>https://example.org/exConcept</dct:replaces>
</conceptEntry>
4.5.8. Begrep – er erstattet av <dct:isReplacedBy> (0..n)
Navn / Name |
er erstattet av / is replaced by |
Datakategori / Data category |
dct:isReplacedBy |
PID |
|
TBX-nivå / TBX level |
conceptEntry |
TBX-klassifisering / TBX Classification |
descrip |
Verdiområde / Range |
ref or xref |
Anvendelse / Usage note |
Egenskapen brukes til å referere til et annet begrep som dette begrepet er erstattet av. This property is used to refer to another concept that this concept is replaced by. |
Multiplisitet / Multiplicity |
0..n |
Kravnivå / Requirement level |
Valgfri / Optional |
Merknad / Note |
Denne egenskapen/relasjonen er den motsatte av 4.5.7, “Begrep – erstatter <dct:replaces> (0..n)”. This property/relation is the inverse of 4.5.7, “Begrep – erstatter <dct:replaces> (0..n)”. |
Eksempel i TBX-AP-NO (DCT style), for et fiktivt eksempelbegrep:
<conceptEntry id="cid-1">
<dct:isReplacedBy>https://example.org/exConcept</dct:isReplacedBy>
</conceptEntry>
4.5.9. Begrep – se også <rdfs:seeAlso> (0..n)
Navn / Name |
se også / see also |
Datakategori / Data category |
rdfs:seeAlso |
PID |
|
TBX-nivå / TBX level |
conceptEntry |
TBX-klassifisering / TBX Classification |
descrip |
Verdiområde / Range |
ref or xref |
Anvendelse / Usage note |
Egenskapen brukes til å referere til et annet begrep som dette begrepet har en «se også»-relasjon til. This property is used to refer to another concept that this concept has a “see also”-relation with. |
Multiplisitet / Multiplicity |
0..n |
Kravnivå / Requirement level |
Valgfri / Optional |
Merknad / Note |
Eksempel i TBX-AP-NO (DCT style), for et fiktivt eksempelbegrep:
<conceptEntry id="cid-1">
<rdfs:seeAlso>https://example.org/exConcept</rdfs:seeAlso>
</conceptEntry>
4.5.10. Begrep – er relatert til <skos:related> (0..n)
Navn / Name |
er relatert til / is related to |
Datakategori / Data category |
skos:related |
PID |
|
TBX-nivå / TBX level |
conceptEntry |
TBX-klassifisering / TBX Classification |
descrip |
Verdiområde / Range |
ref or xref |
Anvendelse / Usage note |
Egenskapen brukes til å referere til et annet begrep som begrepet er relatert til. This property is used to refer to a concept that this concept is related to. |
Multiplisitet / Multiplicity |
0..n |
Kravnivå / Requirement level |
Valgfri / Optional |
Merknad 1 / Note 1 |
Egenskapen/relasjonen kan også leses som «har assosiert begrep». This property/relation may also be read as “has associated concept”. |
Merknad 2 / Note 2 |
Bruk heller en av de andre semantisk mer presise assosiative begrepsrelasjonene når det er mulig. Use rather one of the other semantically more precise associative concept relations when possible. |
Merknad 3 / Note 3 |
Bruk 4.11, “<langSec> | Assosiativ begrepsrelasjon <descripGrp> (0..n)” når det er behov for å beskrive relasjonsrollen begrepet har. Use 4.11, “<langSec> | Assosiativ begrepsrelasjon <descripGrp> (0..n)” when there is a need to describe the relation role that the concept has. |
Eksempel i TBX-AP-NO (DCT style), for NAVs begrep 170 («medlem i folketrygden») som er relatert til begrep 1696 («trygdeavgift»):
<conceptEntry id="BEGREP-170">
<skos:related>https://data.norge.no/concepts/d649801d-b47d-4d00-9470-35275c4ace00</skos:related>
</conceptEntry>
4.6. <langSec> (2..n)
<langSec> er obligatorisk og skal brukes til å representere termer og definisjoner for et gitt begrep på ett gitt skriftspråk. <langSec> kan også brukes til å representere valgfri begrepsrelasjoner der det er behov for mer detaljert beskrivelse av relasjonene. De enkelte delene i <langSec> er beskrevet i de etterfølgende avsnittene. Språkkoden skal oppgis i start-taggen til <langSec> og vil gjelde for hele <langSec>, se eksemplet under.
Restriksjon 1: Det skal være maks. én <langSec> per skriftspråk per begrep (<conceptEntry>).
Restriksjon 2: For hvert begrep (<conceptEntry>) skal det finnes én <langSec> for bokmål og én <langSec> for nynorsk, og begge skal ha én term (<termSec>) der 4.7.2.1, “Term - betegnelsesstatus <basic:administrativeStatus> (1..1)” har verdi basic:preferredTermAdmnSts (= anbefalt term). Dette fordi anbefalt term skal finnes på både bokmål og nynorsk.
Restriksjon 3: Det skal være min. én <lagSec> som inneholder én term (<termSec>) der 4.7.2.1, “Term - betegnelsesstatus <basic:administrativeStatus> (1..1)” har verdi basic:preferredTermAdmnSts (= anbefalt term), og som har definisjon.
<langSec> is mandatory and shall be used to represent terms and definitions for a given concept in a given language. <langSec> may also be used to represent optional concept relations when there is a need to describe the relations with details. The various parts of <langSec> are described in the following sections. The language code is specified in the start tag of <langSec> and will apply to the whole <langSec>, see the example below.
Restriction 1: There shall be max. one <langSec> per language per concept (<conceptEntry>).
Restriction 2: For each concept (<conceptEntry>) there shall be one <langSec> for Norwegian bokmål and one <langSec> for Norwegian nynorsk, and both shall have a term (<termSec>) where 4.7.2.1, “Term - betegnelsesstatus <basic:administrativeStatus> (1..1)” has value basic:preferredTermAdmnSts (= preferred term). This is because "preferred term" shall be in both Norwegian bokmål and in Norwegian nynorsk.
Restriction 3: There shall be min. one <langSec> that has a term (<termSec>) where 4.7.2.1, “Term - betegnelsesstatus <basic:administrativeStatus> (1..1)” has value basic:preferredTermAdmnSts (= preferred term), and that has definition.
Eksempel i TBX-AP-NO (DCT style), for et fiktivt eksempelbegrep:
<conceptEntry id="cid-1">
<langSec xml:lang="nb"> <!-- langSec for bokmål -->
…
</langSec>
<langSec xml:lang="nn"> <!-- langSec for nynorsk -->
…
</langSec>
</conceptEntry>
4.7. <langSec> | Term <termSec> (1..n)
<termSec> er obligatorisk og skal brukes til å beskrive termer på det gitte skriftspråk (<langSec>) for det gitte begrepet (<conceptEntry>).
Restriksjon: En <langSec> kan ha flere <termSec> men maks. én der 4.7.2.1, “Term - betegnelsesstatus <basic:administrativeStatus> (1..1)” har verdi basic:preferredTermAdmnSts (= anbefalt term).
<termSec> is mandatory and shall be used to describe terms in that given language (<langSec>) for that given concept (<conceptEntry>).
Resctriction: A <langSec> may have several <termSec> but max. one where 4.7.2.1, “Term - betegnelsesstatus <basic:administrativeStatus> (1..1)” has value basic:preferredTermAdmnSts (= preferred term).
4.7.1. <langSec> | Term <termSec> | tekst <term> (1..1)
Navn / Name |
term / term |
Datakategori / Data category |
term |
PID |
|
TBX-nivå / TBX level |
termSec |
TBX-klassifisering / TBX Classification |
term |
Verdiområde / Range |
String |
Anvendelse / Usage note |
Egenskapen brukes til å oppgi selve termen (teksten) på det gitte skriftspråket. This property is used to specify the term (the text) in that given language. |
Multiplisitet / Multiplicity |
1..1 |
Kravnivå / Requirement level |
Obligatorisk / Mandatory |
Eksempel i TBX-AP-NO (DCT style), for NAVs begrep 975 («mødrekvote»):
<conceptEntry id="BEGREP-975">
<langSec xml:lang="nb">
<termSec>
<term>mødrekvote</term>
</termSec>
</langSec>
</conceptEntry>
4.7.2. <langSec> | Term <termSec>| <termNote> (1..1)
<termNote> her er obligatorisk, og skal brukes til å oppgi betegnelsesstatus (anbefalt term, tillatt term, frarådd term eller datastrukturterm).
<termNote> here is mandatory, and shall be used to specify the acceptability rating of the term (preferred term, admitted term, deprecated term or data structure label).
4.7.2.1. Term - betegnelsesstatus <basic:administrativeStatus> (1..1)
Navn / Name |
betegnelsesstatus / acceptability rating |
Datakategori / Data category |
basic:administrativeStatus |
PID |
|
TBX-nivå / TBX level |
termSec |
TBX-klassifisering / TBX Classification |
termNote |
Verdiområde / Range |
Picklist:
|
Anvendelse / Usage note |
Egenskapen brukes til å oppgi betegnelsesstatus til termen, dvs. om termen er en anbefalt term, tillatt term, frarådd term eller datastrukturterm. This property is used to specify the acceptability rating of the term, i.e., if the term is a preferred term, admitted term, deprecated term or data structure label. |
Multiplisitet / Multiplicity |
1..1 |
Kravnivå / Requirement level |
Obligatorisk / Mandatory |
Eksempel i TBX-AP-NO (DCT style), for NAVs begrep 975 «mødrekvote»:
<conceptEntry id="BEGREP-975">
<langSec xml:lang="nb">
<termSec>
<term>mødrekvote</term>
<basic:administrativeStatus>basic:preferredTermAdmnSts</basic:administrativeStatus>
</termSec>
</langSec>
</conceptEntry>
4.8. <langSec> | Definisjon <descripGrp> (0..n)
Denne <descripGrp> er anbefalt og brukes til å oppgi definisjon til begrepet på det gitte skriftspråket.
Restriksjon 1: Det skal være min. én <langSec> som inneholder Definisjon (denne <descripGrp>). Med andre ord: ethvert begrep skal ha minst én definisjon.
Restriksjon 2: Det kan oppgis maks. én definisjon (denne <descripGrp>) per 4.8.2, “<langSec> | Definisjon <descripGrp> (0..n) | målgruppe <dct:audience> (0..1)” per skriftspråk (<langSec>).
This <descripGrp> is recommended and is used to specify the definition of the concept in that given language.
Restriction 1: There shall be min. one <langSec> that contains a definisjon (this <descripGrp>). In other words, every concept shall have min. one definition.
Restriction 2: There may be max. one definition (this <descripGrp>) per 4.8.2, “<langSec> | Definisjon <descripGrp> (0..n) | målgruppe <dct:audience> (0..1)” per language (<langSec>).
4.8.1. <langSec> | Definisjon <descripGrp> (0..n) | tekst <basic:definition> (1..1)
Navn / Name |
definisjon / definition |
Datakategori / Data category |
basic:definition |
PID |
|
TBX-nivå / TBX level |
langSec |
TBX-klassifisering / TBX Classification |
descrip |
Verdiområde / Range |
String |
Anvendelse / Usage note |
Egenskapen brukes til å oppgi definisjonen på det gitte skriftspråket. This property is used to specify the definition in that given language. |
Multiplisitet / Multiplicity |
1..1 |
Kravnivå / Requirement level |
Obligatorisk / Mandatory |
Eksempel i TBX-AP-NO (DCT style), for NAVs begrep 975 («mødrekvote»):
<conceptEntry id="BEGREP-975">
<langSec xml:lang="nb">
<descripGrp>
<basic:definition>den delen av foreldrepengeperioden som er forbeholdt mor</basic:definition>
</descripGrp>
</langSec>
</conceptEntry>
4.8.2. <langSec> | Definisjon <descripGrp> (0..n) | målgruppe <dct:audience> (0..1)
Navn / Name |
målgruppe / audience |
Datakategori / Data category |
dct:audience |
PID |
|
TBX-nivå / TBX level |
langSec |
TBX-klassifisering / TBX Classification |
descripNote |
Verdiområde / Range |
Picklist: Når begrepsbeskrivelsen gjøres tilgjengelig utenfor virksomheten, og hvis en av kategoriene i det kontrollerte vokabularet Målgruppetype passer til begrepets målgruppe, skal egenskapen referere til den aktuelle kategorien. When making the concept description available outside the organization, and if one of the categories in the controlled vocabulary Audience type is suitable for the audience of the concept, this property shall refer to that category. |
Anvendelse / Usage note |
Egenskapen brukes til å oppgi målgruppen for definisjonen, oppgitt som kodet verdi. This property is used to specify the audience of the definition, as a coded value. |
Multiplisitet / Multiplicity |
0..1 |
Kravnivå / Requirement level |
Valgfri / Optional |
Eksempel i TBX-AP-NO (DCT style), for et fiktivt eksempel:
<conceptEntry id="cid-1">
<langSec xml:lang="nb">
<descripGrp>
<basic:definition>begrep som brukes til å eksemplifisere noe med</basic:definition>
<dct:audience>https://data.norge.no/vocabulary/audience-type#public</dct:audience>
</descripGrp>
</langSec>
</conceptEntry>
4.8.3. <langSec> | Definisjon <descripGrp> (1..n) | kildebeskrivelse <adminGrp> (0..1)
Denne <adminGrp> er anbefalt, og brukes til å beskrive kilden(e) til definisjonen.
This <adminGrp> is recommended, and is used to describe the source(s) for the definition.
4.8.3.1. Definisjon – forhold til kilde <skosno:relationshipWithSource> (0..1)
Navn / Name |
forhold til kilde / relationship with source |
Datakategori / Data category |
skosno:relationshipWithSource |
PID |
https://data.norge.no/vocabulary/skosno#relationshipWithSource |
TBX-nivå / TBX level |
langSec |
TBX-klassifisering / TBX Classification |
admin |
Verdiområde / Range |
Picklist: Når begrepsbeskrivelsen gjøres tilgjengelig utenfor virksomheten, og hvis en av kategoriene i det kontrollerte vokabularet Typer forhold til kilde passer til begrepets forhold til kilde, skal egenskapen referere til den aktuelle kategorien. When making the concept description available outside the organization, and if one of the categories in the controlled vocabulary Types of relationship with source is suitable for the concept’s relationship with source, this property shall refer to that category. |
Anvendelse / Usage note |
Egenskapen brukes til å oppgi definisjonens forhold til kilde(r). This property is used to specify the definition’s relationship with the source(s). |
Multiplisitet / Multiplicity |
0..1 |
Kravnivå / Requirement level |
Anbefalt / Recommended |
Merknad / Note |
Denne egenskapen skal brukes i en This property shall be used in an |
Eksempel i TBX-AP-NO (DCT style), for et fiktivt eksempel:
<conceptEntry id="cid-1">
<langSec xml:lang="nb">
<descripGrp> <!-- descripGrp for a given definition -->
<basic:definition>…</basic:definition>
<adminGrp>
<skosno:relationshipWithSource>https://data.norge.no/vocabulary/relationship-with-source-type#derived-from-source</skosno:relationshipWithSource>
<basic:source>https://example.org/exampleSource</basic:source>
</adminGrp>
</descripGrp>
</langSec>
</conceptEntry>
4.8.3.2. Definisjon – kilde <basic:source> (0..n)
Navn / Name |
kilde / source |
Datakategori / Data category |
basic:source |
PID |
|
TBX-nivå / TBX level |
langSec |
TBX-klassifisering / TBX Classification |
adminNote |
Verdiområde / Range |
xref or xsd:sequence |
Anvendelse / Usage note |
Egenskapen brukes til å oppgi kilde(r) til definisjonen. This property is used to specify the source(s) for the definition. |
Multiplisitet / Multiplicity |
0..n |
Kravnivå / Requirement level |
Anbefalt / Recommended |
Merknad 1 / Note 1 |
Denne egenskapen skal brukes i en This property shall be used in an |
Merknad 2 / Note 2 |
Bruk Use |
Eksempel i TBX-AP-NO (DCT style): Se under 4.8.3.1, “Definisjon – forhold til kilde <skosno:relationshipWithSource> (0..1)”.
4.9. <langSec> | <admin> (0..2)
<admin> her er valgfri, og brukes til å beskrive begrepets status eller versjonsnoter til begrepets aktuelle versjon.
<admin> here is optional, and is used to describe the status of the concept or version note(s) about the current version of the concept.
4.9.1. Begrep – status <euvoc:status> (0..1)
Navn / Name |
status / status |
Datakategori / Data category |
adms:status |
PID |
|
TBX-nivå / TBX level |
langSec |
TBX-klassifisering / TBX Classification |
admin |
Verdiområde / Range |
String or Picklist |
Anvendelse / Usage note |
Egenskapen brukes til å oppgi status til begrepet. This property is used to specify the status of the concept. |
Multiplisitet / Multiplicity |
0..1 |
Kravnivå / Requirement level |
Valgfri / Optional |
Merknad / Note |
Når begrepsbeskrivelsen gjøres tilgjengelig utenfor virksomheten, og hvis en av kategoriene i EUs kontrollerte vokabular Concept status passer til begrepets status, skal egenskapen referere til den aktuelle kategorien. When making the concept description available outside the organization, and if one of the categories in EU’s Concept status is suitable for the status of the concept, this property shall refer to that category. |
Eksempel i TBX-AP-NO (DCT style), for et fiktivt eksempel:
<conceptEntry id="cid-1">
<langSec xml:lang="nb">
<adms:status>http://publications.europa.eu/resource/authority/concept-status/CURRENT</adms:status>
</langSec>
</conceptEntry>
4.9.2. Begrep – versjonsnote <adms:versionNotes> (0..n)
Navn / Name |
versjonsnote / version notes |
Datakategori / Data category |
adms:versionNotes |
PID |
|
TBX-nivå / TBX level |
langSec |
TBX-klassifisering / TBX Classification |
admin |
Verdiområde / Range |
String |
Anvendelse / Usage note |
Egenskapen brukes til å oppgi versjonsnoter. This property is used to specify version notes. |
Multiplisitet / Multiplicity |
0..n |
Kravnivå / Requirement level |
Valgfri / Optional |
Eksempel i TBX-AP-NO (DCT style), for SSBs begrep ‘landbakgrunn’:
<conceptEntry id="landbakgrunn">
<langSec xml:lang="nb">
<adms:versionNotes>Fra og med 1.1.2003 ble definisjon endret til også å trekke inn besteforeldrenes fødeland</adms:versionNotes>
</langSec>
</conceptEntry>
4.10. <langSec> | <descrip> (0..n)
Denne <descrip> brukes til å beskrive følgende opplysninger om begrepet: (valgfri) eksempel, (anbefalt) merknad, (anbefalt) fagområde eller (valgfri) verdiområde.
The <descrip> here is used to describe the following information about the concept: (optional) example, (recommended) note, (recommended) subject field or (optional) value range.
4.10.1. Begrep – eksempel <skos:example> (0..n)
Navn / Name |
eksempel / example |
Datakategori / Data category |
skos:example |
PID |
|
TBX-nivå / TBX level |
langSec |
TBX-klassifisering / TBX Classification |
descrip |
Verdiområde / Range |
String |
Anvendelse / Usage note |
Egenskapen brukes til å oppgi eksempler på begrepet. This property is used to specify examples of the concept. |
Multiplisitet / Multiplicity |
0..n |
Kravnivå / Requirement level |
Valgfri / Optional |
Eksempel i TBX-AP-NO (DCT style), for et fiktivt eksempelbegrep:
<conceptEntry id="cid-1">
<langSec xml:lang="nb">
<skos:example>eksempel1, eksempel2, eksempel3</skos:example>
</langSec>
</conceptEntry>
4.10.2. Begrep – merknad <basic:note> (0..n)
Navn / Name |
merknad / note |
Datakategori / Data category |
basic:note |
PID |
|
TBX-nivå / TBX level |
langSec |
TBX-klassifisering / TBX Classification |
descrip |
Verdiområde / Range |
String |
Anvendelse / Usage note |
Egenskapen brukes til å oppgi utfyllende forklaring til begrepet. This property is used to specify notes about the concept. |
Multiplisitet / Multiplicity |
0..n |
Kravnivå / Requirement level |
Anbefalt / Recommended |
Eksempel i TBX-AP-NO (DCT style), for et fiktivt eksempelbegrep:
<conceptEntry id="cid-1">
<langSec xml:lang="nb">
<basic:note>dette er et fiktivt eksempelbegrep som kun skal brukes til eksemplifisering</basic:note>
</langSec>
</conceptEntry>
4.10.3. Begrep – fagområde <basic:subjectField> (0..n)
Navn / Name |
fagområde / subject field |
Datakategori / Data category |
basic:subjectField |
PID |
|
TBX-nivå / TBX level |
langSec |
TBX-klassifisering / TBX Classification |
descrip |
Verdiområde / Range |
String, ref or xref |
Anvendelse / Usage note |
Egenskapen brukes til å oppgi fagområde(r) til begrepet. This property is used to specify subject field(s) of the concept. |
Multiplisitet / Multiplicity |
0..n |
Kravnivå / Requirement level |
Anbefalt / Recommended |
Merknad / Note |
Fagområde kan representere en akademisk disiplin, et bruksområde, et produkt, en tjenestekjede eller lignende. A subject field may represent an academic discipline, an application area, a product, a service chain or suchlike. |
Eksempel i TBX-AP-NO (DCT style), for et fiktivt eksempelbegrep:
<conceptEntry id="cid-1">
<langSec xml:lang="nb">
<basic:subjectField>terminologi</basic:subjectField>
</langSec>
</conceptEntry>
4.10.4. Begrep – verdiområde <skosno:valueRange> (0..n)
Navn / Name |
verdiområde / value range |
Datakategori / Data category |
skosno:valueRange |
PID |
|
TBX-nivå / TBX level |
langSec |
TBX-klassifisering / TBX Classification |
descrip |
Verdiområde / Range |
String or xref |
Anvendelse / Usage note |
Egenskapen brukes til å oppgi verdiområde til begrepet. This property is used to specify the value range of the concept. |
Multiplisitet / Multiplicity |
0..n |
Kravnivå / Requirement level |
Valgfri / Optional |
Eksempel i TBX-AP-NO (DCT style), for SSBs begrep «sivilstand»:
<conceptEntry id="sivilstand">
<langSec xml:lang="nb">
<skosno:valueRange>Standard for sivilstand</skosno:valueRange>
<skosno:valueRange>https://www.ssb.no/klass/klassifikasjoner/19</skosno:valueRange>
</langSec>
</conceptEntry>
4.11. <langSec> | Assosiativ begrepsrelasjon <descripGrp> (0..n)
Denne <descripGrp> er valgfri, og brukes til å beskrive en assosiativ relasjon som det aktuelle begrepet har med andre begreper, når det er behov for å beskrive relasjonen med relasjonsrollen begrepet har.
This <descripGrp> is optional, and is used to describe an associative relation that the current concept has with other concepts, when there is a need to describe the relation with the relation role that the concept has.
4.11.1. Begrep – er relatert til <skos:related> (1..n)
Navn / Name |
er relater til / related |
Datakategori / Data category |
skos:related |
PID |
|
TBX-nivå / TBX level |
langSec |
TBX-klassifisering / TBX Classification |
descrip |
Verdiområde / Range |
ref or xref |
Anvendelse / Usage note |
Egenskapen brukes til å referere til et annet begrep som begrepet er relater til. This property is used to refer to another concept that this concept is related to. |
Multiplisitet / Multiplicity |
1..n |
Kravnivå / Requirement level |
Obligatorisk / Mandatory |
*Merknad / Note |
Denne egenskapen skal brukes i en This property shall be used in a |
Eksempel i TBX-AP-NO (DCT style), for et fiktivt eksemeplbegrep:
<conceptEntry id="cid-1">
<langSec xml:lang="nb">
<descripGrp>
<skos:related>https://example.org/exConcept</skos:related>
<skosno:relationRole>forutsetter</skosno:relationRole>
</descripGrp>
</langSec>
</conceptEntry>
4.11.2. Begrep – relasjonsrolle <skosno:relationRole> (1..1)
Navn / Name |
relasjonsrolle / relation role |
Datakategori / Data category |
skosno:relationRole |
PID |
|
TBX-nivå / TBX level |
langSec |
TBX-klassifisering / TBX Classification |
descripNote |
Verdiområde / Range |
String or Picklist |
Anvendelse / Usage note |
Egenskapen brukes til å oppgi relasjonsrollen begrepet har i den aktuelle assosiative relasjonen, enten som kodet verdi eller som tekst. This property is used to specify the relation role that the concept has in the associative relation, either as coded value or as text. |
Multiplisitet / Multiplicity |
1..1 |
Kravnivå / Requirement level |
Obligatorisk / Mandatory |
Merknad / Note |
Denne egenskapen skal brukes i en This property shall be used in a <descripGrp> together with er 4.11.1, “Begrep – er relatert til <skos:related> (1..n)”. |
Eksempel i TBX-AP-NO (DCT style): Se under 4.11.1, “Begrep – er relatert til <skos:related> (1..n)”.
4.12. <langSec> | Generisk begrepsrelasjon <descripGrp> (0..n)
Denne <descripGrp> er valgfri, og brukes til å beskrive en generisk relasjon som det aktuelle begrepet har med andre begreper, når det er behov for å oppgi inndelingskriterium.
This <descripGrp> is optional, and is used to describe a generic relation that the current concept has with other concepts, when there is a need to specify the criterion of subdivision.
4.12.1. Begrep – generaliserer <xkos:generalizes> (1..n)
Navn / Name |
generaliserer / generalizes |
Datakategori / Data category |
xkos:generalizes |
PID |
|
TBX-nivå / TBX level |
langSec |
TBX-klassifisering / TBX Classification |
descrip |
Verdiområde / Range |
ref or xref |
Anvendelse / Usage note |
Egenskapen brukes til å referere til et annet begrep som begrepet generaliserer. This property is used to refer to another concept that this concept generalizes. |
Multiplisitet / Multiplicity |
1..n |
Kravnivå / Requirement level |
Obligatorisk / Mandatory |
Merknad 1 / Note 1 |
Selv om både denne og egenskapen 4.12.2, “Begrep – spesialiserer <xkos:specializes> (1..n)” er obligatoriske, skal bare én av disse brukes for en gitt generisk relasjon ( Although both this property and the property 4.12.2, “Begrep – spesialiserer <xkos:specializes> (1..n)” are mandatory, only one of these shall be used for a given generic relation ( |
Merknad 2 / Note 2 |
Egenskapen/relasjonen kan også leses som «har spesifikt begrep». This property/relation may also be read as “has specific concept”. |
Merknad 3 / Note 3 |
Egenskapen/relasjonen er den motsatte av 4.12.2, “Begrep – spesialiserer <xkos:specializes> (1..n)”. This property/relation is the inverse of 4.12.2, “Begrep – spesialiserer <xkos:specializes> (1..n)”. |
Eksempel i TBX-AP-NO (DCT style), for NAVs begrep 625 («ytelsesperiode») som generaliserer begrep 974 («foreldrepengeperiode»):
<conceptEntry id="BEGREP-625">
<langSec xml:lang="nb">
<descripGrp>
<xkos:generalizes>https://data.norge.no/concepts/4729eca4-f145-4518-8309-3e02a84dfc55</xkos:generalizes>
</descripGrp>
</langSec>
</conceptEntry>
4.12.2. Begrep – spesialiserer <xkos:specializes> (1..n)
Navn / Name |
spesialiserer / specializes |
Datakategori / Data category |
xkos:specializes |
PID |
|
TBX-nivå / TBX level |
langSec |
TBX-klassifisering / TBX Classification |
descrip |
Verdiområde / Range |
ref or xref |
Anvendelse / Usage note |
Egenskapen brukes til å referere til et annet begrep som begrepet spesialiserer. This property is used to refer to another concept that this concept specializes. |
Multiplisitet / Multiplicity |
1..n |
Kravnivå / Requirement level |
Obligatorisk / Mandatory |
Merknad 1 / Note 1 |
Selv om både denne og egenskapen 4.12.1, “Begrep – generaliserer <xkos:generalizes> (1..n)” er obligatoriske, skal bare én av disse brukes for en gitt generisk relasjon ( Although both this property and the property 4.12.1, “Begrep – generaliserer <xkos:generalizes> (1..n)” are mandatory, only one of these shall be used for a given generic relation ( |
Merknad 2 / Note 2 |
Egenskapen/relasjonen kan også leses som «har generisk begrep». This property/relation may also be read as “has generic concept”. |
Merknad 3 / Note 3 |
Egenskapen/relasjonen er den motsatte av 4.12.1, “Begrep – generaliserer <xkos:generalizes> (1..n)”. This property/relation is the inverse of 4.12.1, “Begrep – generaliserer <xkos:generalizes> (1..n)”. |
Eksempel i TBX-AP-NO (DCT style), for NAVs begrep 974 («foreldrepengeperiode») som spesialiserer begrep 625 («ytelsesperiode»):
<conceptEntry id="BEGREP-974">
<langSec xml:lang="nb">
<descripGrp>
<xkos:specializes>https://data.norge.no/concepts/680b83b6-46f5-30f2-96f7-e36c4e5cf3d1</xkos:specializes>
</descripGrp>
</langSec>
</conceptEntry>
4.12.3. Begrep – generisk begrepsrelasjon – inndelingskriterium <dct:description> (0..1)
Navn / Name |
inndelingskriterium / criterion of subdivision |
Datakategori / Data category |
dct:description |
PID |
|
TBX-nivå / TBX level |
langSec |
TBX-klassifisering / TBX Classification |
descripNote |
Verdiområde / Range |
String |
Anvendelse / Usage note |
Egenskapen brukes til å oppgi inndelingskriterium for begrepsrelasjonen. This property is used to specify the criterion of subdivision for the concept relation. |
Multiplisitet / Multiplicity |
0..1 |
Kravnivå / Requirement level |
Anbefalt / Recommended |
Eksempel i TBX-AP-NO (DCT style), for et fiktivt eksempelbegrep:
<conceptEntry id="cid-1">
<langSec xml:lang="nb">
<descripGrp>
<xkos:specializes>https://example.org/exConcept2</xkos:specializes>
<dct:description>anatomi</dct:description>
</descripGrp>
</langSec>
</conceptEntry>
4.13. <langSec> | Partitiv begrepsrelasjon <descripGrp> (0..n)
Denne <descripGrp> er valgfri, og brukes til å beskrive en partitiv relasjon som det aktuelle begrepet har med andre begreper, når det er behov for å oppgi inndelingskriterium.
This <descripGrp> is optional, and is used to describe a partitive relation that the current concept has with other concepts, when there is a need to specify criterion of subdivision.
4.13.1. Begrep – er del av <xkos:isPartOf> (1..n)
Navn / Name |
er en del av / is part of |
Datakategori / Data category |
xkos:isPartOf |
PID |
|
TBX-nivå / TBX level |
langSec |
TBX-klassifisering / TBX Classification |
descrip |
Verdiområde / Range |
ref or xref |
Anvendelse / Usage note |
Egenskapen brukes til å referere til et annet begrep som begrepet er del av. This property is used to refer to another concept that this concept is part of. |
Multiplisitet / Multiplicity |
1..n |
Kravnivå / Requirement level |
Obligatorisk / Mandatory |
Merknad 1 / Note 1 |
Selv om både denne og egenskapen 4.13.2, “Begrep – inneholder <xkos:hasPart> (1..n)” er obligatoriske, skal bare én av disse brukes for en gitt partitiv relasjon ( Although both this property and the property 4.13.2, “Begrep – inneholder <xkos:hasPart> (1..n)” are mandatory, only one of these shall be used for a given partitive relation ( |
Merknad 2 / Note 2 |
Egenskapen/relasjonen kan også leses som «har helhetsbegrep». This property/relation may also be read as “has comprehensive concept”. |
Merknad 3 / Note 3 |
Egenskapen/relasjonen er den motsatte av 4.13.2, “Begrep – inneholder <xkos:hasPart> (1..n)”. This property/relation is the inverse of 4.13.2, “Begrep – inneholder <xkos:hasPart> (1..n)”. |
Eksempel i TBX-AP-NO (DCT style), for NAVs begrep 975 («mødrekvote») som er del av begrep 974 («foreldrepengeperiode»):
<conceptEntry id="BEGREP-975">
<langSec xml:lang="nb">
<descripGrp>
<xkos:isPartOf>https://data.norge.no/concepts/4729eca4-f145-4518-8309-3e02a84dfc55</xkos:isPartOf>
</descripGrp>
</langSec>
</conceptEntry>
4.13.2. Begrep – inneholder <xkos:hasPart> (1..n)
Navn / Name |
inneholder / has part |
Datakategori / Data category |
xkos:hasPart |
PID |
|
TBX-nivå / TBX level |
langSec |
TBX-klassifisering / TBX Classification |
descrip |
Verdiområde / Range |
ref or xref |
Anvendelse / Usage note |
Egenskapen brukes til å referere til et annet begrep som begrepet inneholder (består av). This property is used to refer to another concept that this concept has as part. |
Multiplisitet / Multiplicity |
1..n |
Kravnivå / Requirement level |
Obligatorisk / Mandatory |
Merknad 1 / Note 1 |
Selv om både denne og egenskapen 4.13.1, “Begrep – er del av <xkos:isPartOf> (1..n)” er obligatoriske, skal bare én av disse brukes for en gitt partitiv relasjon ( Although both this property and the property 4.13.1, “Begrep – er del av <xkos:isPartOf> (1..n)” are mandatory, only one of these shall be used for a given partitive relation ( |
Merknad 2 / Note 2 |
Egenskapen/relasjonen kan også leses som «har delbegrep». This property/relation may also be read as “has partitive concept”. |
Merknad 3 / Note 3 |
Egenskapen/relasjonen er den motsatte av 4.13.1, “Begrep – er del av <xkos:isPartOf> (1..n)”. This property/relation is the inverse of 4.13.1, “Begrep – er del av <xkos:isPartOf> (1..n)”. |
Eksempel i TBX-AP-NO (DCT style), for NAVs begrep 974 («foreldrepengeperiode») som inneholder begrep 975 («mødrekvote»), begrep 976 («fellesperiode») og begrep 1467 («fedrekvote»):
<conceptEntry id="BEGREP-974">
<langSec xml:lang="nb">
<descripGrp>
<xkos:hasPart>https://data.norge.no/concepts/6bd8baed-c9d7-4dbc-b850-78ceeebdc1d5</xkos:hasPart>
<xkos:hasPart>https://data.norge.no/concepts/13a8697d-177b-499b-8d22-9cee6741c025</xkos:hasPart>
<xkos:hasPart>https://data.norge.no/concepts/32d18d0e-c9d4-4785-b1e8-3612ffca8fb7</xkos:hasPart>
</descripGrp>
</langSec>
</conceptEntry>
4.13.3. Begrep – partitiv begrepsrelasjon – inndelingskriterium <dct:description> (0..1)
Navn / Name |
inndelingskriterium / criterion of subdivision |
Datakategori / Data category |
dct:description |
PID |
|
TBX-nivå / TBX level |
langSec |
TBX-klassifisering / TBX Classification |
descripNote |
Verdiområde / Range |
String |
Anvendelse / Usage note |
Egenskapen brukes til å oppgi inndelingskriterium for begrepsrelasjonen. This property is used to specify the criterion of subdivision for the concept relation. |
Multiplisitet / Multiplicity |
0..1 |
Kravnivå / Requirement level |
Anbefalt / Recommended |
Eksempel i TBX-AP-NO (DCT style), for et fiktivt eksempelbegrep:
<conceptEntry id="cid-1">
<langSec xml:lang="nb">
<descripGrp>
<xkos:hasPart>https://example.org/exConcept</xkos:hasPart>
<dct:description>anatomi</dct:description>
</descripGrp>
</langSec>
</conceptEntry>
5. Krav til TBX-representasjon av en begrepssamling
5.1. Begrepssamling <tbx> (1..1)
<tbx> er roten til en TBX-fil. Den skal brukes til å representere en begrepssamling.
Følgende skal tas med sammen med start-taggen av <tbx>:
-
xmlns="urn:iso:std:iso:30042:ed-2"som refererer til ISO 30042:2019 -
style="dct"ellerstyle="dca"som forteller hvilken stil som er brukt i filen -
type="TBX-AP-NO-v2", som refererer denne versjonen av TBX-AP-NO -
xml:lang="nb"for bokmål,"nn"for nynorsk,"en"for engelsk osv., som forteller hvilket hovedspråk som er brukt i filen (språkkoden oppgitt her kan overstyres av språkkoden oppgitt i den enkelte<langSec>) -
hvis
style="dct"brukes, skal navnerom oppgis for alle prefiksene som er brukt i filen, f.eks.xmlns:basic=http://www.tbxinfo.net/ns/basic, se Vedlegg A - Navnerom som er brukt i denne standard for alle prefiksene som er brukt i denne standarden med tilhørende navnerom
Denne standarden bruker bare <fileDesc>-delen av <tbxHeader>, og bare <titleStmt> og <sourceDesc> i <fileDesc>. <titleStmt> og <fileDesc> vil bli beskrevet i etterfølgende avsnitt.
<tbx> is the root of a TBX-file. It shall be used to represent a concept collection.
The following shall be used with the start tag of <tbx>:
-
xmlns="urn:iso:std:iso:30042:ed-2"which refers to ISO 30042:2019 -
style="dct"orstyle="dca"which specifies the style used in the file -
type="TBX-AP-NO-v2"which refers to this version of TBX-AP-NO -
xml:lang="nb"for Norwegian bokmål,"nn"for Norwegian nynorsk,"en"for English etc., which specifies the main language that is used in the file (the language code specified here may be overridden by the language code given in the<langSec>) -
if
style="dct"is used, name spaces for all prefixes that are used in the file shall be given, e.g.,xmlns:basic=http://www.tbxinfo.net/ns/basic, see Vedlegg A - Navnerom som er brukt i denne standard for all prefixes that are used in this standard with corresponding name spaces
This standard only uses the <fileDesc>-part of <tbxHeader>, and only <titleStmt> and <sourceDesc> in <fileDesc>. <titleStmt> and <sourceDesc> will be described in the following sections.
5.2. <titleStmt> (1..1)
<titleStmt> er obligatorisk. Navn og beskrivelse til begrepssamlingen oppgis i <titleStmt>.
<titleStmt> is mandatory. The name and description of the concept collection is specified in <titleStmt>.
5.2.1. Begrepssamling – navn <dct:title> (1..n)
Navn / Name |
navn / title |
Datakategori / Data category |
dct:title |
PID |
|
TBX-nivå / TBX level |
fileStmt |
TBX-klassifisering / TBX Classification |
p |
Verdiområde / Range |
String |
Anvendelse / Usage note |
Egenskapen brukes til å oppgi navnet til begrepssamlingen. Egenskapen bør gjentas når navnet er på flere språk. This property is used to specify the name of the concept collection. The property should be repeated for parallel language versions of the name. |
Multiplisitet / Multiplicity |
1..n |
Kravnivå / Requirement level |
Obligatorisk / Mandatory |
Eksempel i TBX-AP-NO (DCT style), se under Eksempel på en TBX-representasjon av en begrepssamling.
5.2.2. Begrepssamling – beskrivelse <dct:description> (0..n)
Navn / Name |
beskrivelse / description |
Datakategori / Data category |
dct:description |
PID |
|
TBX-nivå / TBX level |
fileStmt |
TBX-klassifisering / TBX Classification |
p |
Verdiområde / Range |
String |
Anvendelse / Usage note |
Egenskapen brukes til å oppgi beskrivelse av begrepssamlingen. Egenskapen bør gjentas når teksten er på flere språk. This property is used to specify the description of the concept collection. The property should be repeated for parallel language versions of the description. |
Multiplisitet / Multiplicity |
0..n |
Kravnivå / Requirement level |
Anbefalt / Recommended |
Eksempel i TBX-AP-NO (DCT style), se under Eksempel på en TBX-representasjon av en begrepssamling.
5.3. <sourceDesc> (1..1)
<sourceDesc> er obligatorisk. Begrepssamlingens identifikator, virksomheten som publiserte begrepssamlingen og kontaktpunkt(er) til virksomheten oppgis i <sourceDesc>.
<sourceDesc> is mandatory. The concept collection’s identifier, publisher and contact point to the publisher are specified in <sourceDesc>.
5.3.1. Begrepssamling – identifikator <dct:identifier> (1..1)
Navn / Name |
identifikator / identifier |
Datakategori / Data category |
dct:identifier |
PID |
|
TBX-nivå / TBX level |
sourceDesc |
TBX-klassifisering / TBX Classification |
p |
Verdiområde / Range |
String |
Anvendelse / Usage note |
Egenskapen brukes til å oppgi identifikatoren til begrepssamlingen. This property is used to specify the identifier to the concept collection. |
Multiplisitet / Multiplicity |
1..1 |
Kravnivå / Requirement level |
Obligatorisk / Mandatory |
Eksempel i TBX-AP-NO (DCT style), se under Eksempel på en TBX-representasjon av en begrepssamling.
5.3.2. Begrepssamling – publisert av <dct:publisher> (1..1)
Navn / Name |
publisert av / publisher |
Datakategori / Data category |
dct:publisher |
PID |
|
TBX-nivå / TBX level |
sourceDesc |
TBX-klassifisering / TBX Classification |
p |
Verdiområde / Range |
String |
Anvendelse / Usage note |
Egenskapen brukes til å referere til virksomheten som har publisert begrepssamlingen. This property is used to refer to the publisher of the concept collection. |
Multiplisitet / Multiplicity |
1..1 |
Kravnivå / Requirement level |
Obligatorisk / Mandatory |
Merknad / Note |
Virksomhetens identifikasjonsnummer bør brukes, for eksempel Enhetsregisterets organisasjonsnummer. The organization’s identifier should be used, e.g. the organization number registered in the Central Coordinating Register for Legal Entities (CCR). |
Eksempel i TBX-AP-NO (DCT style), se under Eksempel på en TBX-representasjon av en begrepssamling.
5.3.3. Begrepssamling – kontaktpunkt <dcat:contactPoint> (1..n)
Navn / Name |
kontaktpunkt / contact point |
Datakategori / Data category |
dcat:contactPoint |
PID |
|
TBX-nivå / TBX level |
sourceDesc |
TBX-klassifisering / TBX Classification |
p |
Verdiområde / Range |
vcard:Organization or vcard:Group |
Anvendelse / Usage note |
Egenskapen brukes til å oppgi kontaktpunkt som kan nås ved spørsmål om begrepssamlingen. Det skal være maks. ett kontaktpunkt per språk, hvis det er ulike kontaktpunkter for f.eks. norske vs. internasjonale kontakter. This property is used to specify contact point that may be reached regarding the concept collection. There shall be maximum one contact point per language, when there are different contact points for e.g. Norwegian vs. international contacts. |
Multiplisitet / Multiplicity |
1..n |
Kravnivå / Requirement level |
Obligatorisk / Mandatory |
Eksempel i TBX-AP-NO (DCT style), se under Eksempel på en TBX-representasjon av en begrepssamling.
Vedlegg A - Navnerom som er brukt i denne standard
Prefiks |
Navnerom |
Forklaring/navn |
adms |
|
|
basic |
|
|
dcat |
|
|
dct |
|
|
euvoc |
|
|
min |
|
|
owl |
|
|
rdfs |
|
|
skos |
|
|
skosno |
|
Forvaltningsstandard for begrepsbeskrivelser (SKOS-AP-NO-Begrep) |
uneskos |
|
UNESKOS Vocabulary |
vcard |
|
|
xkos |
|
An SKOS extension for representing statistical classifications |
Eksempel på en TBX-start-tagg med ovennevnte prefikser (eksemplet er descriptivt):
<tbx type="TBX-AP-NO-v2" style="dct" xml:lang="nb" xmlns="urn:iso:std:iso:30042:ed-2"
xmlns:admin="http://www.w3.org/ns/adms#"
xmlns:basic="http://www.tbxinfo.net/ns/basic"
xmlns:dcat="http://www.w3.org/ns/dcat#"
xmlns:dct="http://purl.org/dc/terms/"
xmlns:euvoc="\http://publications.europa.eu/ontology/euvoc#"
xmlns:min="http://www.tbxinfo.net/ns/min"
xmlns:owl="http://www.w3.org/2002/07/owl#"
xmlns:rdfs="http://www.w3.org/2000/01/rdf-schema#"
xmlns:skos="http://www.w3.org/2004/02/skos/core#"
xmlns:skosno="https://data.norge.no/vocabulary/skosno#"
xmlns:uneskos="http://purl.org/umu/uneskos#"
xmlns:vcard="http://www.w3.org/2006/vcard/ns#"
xmlns:xkos="http://rdf-vocabulary.ddialliance.org/xkos#"
>
Vedlegg B – Eksempler i TBX-AP-NO
Vedlegget er descriptivt.
Eksempel på en TBX-representasjon av en minimum beskrivelse av et begrep
Eksempel på minimumsinnhold, hentet fra Felles datakatalog 2022-11-25, for begrepet «mødrekvote»:
|
Eksempelet iht. TBX-AP-NO (DCT style): <tbx type="TBX-AP-NO-v2" style="dct" xml:lang="nb" xmlns="urn:iso:std:iso:30042:ed-2"
xmlns:min="http://www.tbxinfo.net/ns/min"
xmlns:basic="http://www.tbxinfo.net/ns/basic"
xmlns:dcat="http://www.w3.org/ns/dcat#"
xmlns:dct="http://purl.org/dc/terms/"
xmlns:vcard="http://www.w3.org/2006/vcard/ns#">
<conceptEntry id="BEGREP-975">
<adminGrp>
<dct:publisher>https://organization-catalog.fellesdatakatalog.digdir.no/organizations/889640782</dct:publisher>
<dcat:contactPoint>
<vcard:Organization>
<vcard:hasEmail>mailto:begrepskatalogen@nav.no</vcard:hasEmail>
</vcard:Organization>
</dcat:contactPoint>
</adminGrp>
<dct:identifier>https://data.norge.no/concepts/6bd8baed-c9d7-4dbc-b850-78ceeebdc1d5</dct:identifier>
<langSec xml:lang="nb">
<descripGrp>
<basic:definition>den delen av foreldrepengeperioden som er forbeholdt mor</basic:definition>
</descripGrp>
<termSec>
<term>mødrekvote</term>
<min:administrativeStatus>basic:preferredTermAdmnSts</min:administrativeStatus>
</termSec>
</langSec>
<langSec xml:lang="nn">
<termSec>
<term>mødrekvote</term>
<min:administrativeStatus>basic:preferredTermAdmnSts</min:administrativeStatus>
</termSec>
</langSec>
</conceptEntry>
</tbx>
|
Eksempel på en TBX-representasjon av en begrepssamling
Eksempel på en begrepssamling, begrepsoversikten i Felles datakatalog:
|
Eksemplet iht. TBX-AP-N (DCT style): <tbx type="TBX-AP-NO-v2" style="dct" xml:lang="nb" xmlns="urn:iso:std:iso:30042:ed-2"
xmlns:min="http://www.tbxinfo.net/ns/min"
xmlns:basic="http://www.tbxinfo.net/ns/basic"
xmlns:dcat="http://www.w3.org/ns/dcat#"
xmlns:dct="http://purl.org/dc/terms/"
xmlns:vcard="http://www.w3.org/2006/vcard/ns#">
<tbxHeader>
<fileDesc>
<titleStmt>
<dct:title xml:lang="nb">Begrepsoversikt</dct:title>
<dct:description xml:lang="nb">Oversikt over begreper som er forvaltet av offentlig forvaltning</dct:description>
</titleStmt>
<sourceDesc>
<dct:identifier>https://data.norge.no/concepts</dct:identifier>
<dct:publisher>https://organization-catalog.fellesdatakatalog.digdir.no/organizations/991825827</dct:publisher>
<dcat:contactPoint>
<vcard:Organization>
<vcard:hasEmail>mailto:fellesdatakatalog@digdir.no</vcard:hasEmail>
</vcard:Organization>
</dcat:contactPoint>
</sourceDesc>
</fileDesc>
</tbxHeader>
<text>
<body>
<!-- concepts that are included in the TBX-file, one <conceptEntry> for each concept -->
<conceptEntry cid="1">
...
</conceptEntry>
<conceptEntry cid="2">
...
</conceptEntry>
</body>
</text>
</tbx>
|
Vedlegg C – Endingslogg
Vedlegget er deskriptivt.
Endringer fra v.2.0.0 til v.2.0.x
Kun redaksjonelle oppdateringer, for å rette opp skrivefeil, lenkefeil, uoverensstemmelser mellom tekst og tegning, upresise formuleringer og lignende.
Endringer fra v.1.0.x til v.2.0.0
Denne versjonen erstatter følgende versjon:
Endringene fra v.1.0.2 til denne versjonen:
-
Kravnivå: Denne versjonen opererer med kravnivåene «obligatorisk» (skal tas med), «anbefalt» (bør tas med hvis det finnes) og «valgfri» (kan tas med). Forrige versjon spesifiserte ikke kravnivå og bare viste til Forvaltningsstandard for begrepsbeskrivelser. Dette for at denne standarden skal kunne brukes alene.
-
Krav til innhold: Denne standarden er en TBX-implementering av kravene i kapittel 2 i Forvaltningsstandard for begrepsbeskrivelser (SKOS-AP-NO-Begrep). Se endringslogg i den for endringer på krav til innhold, som også gjelder denne versjonen.
-
DCT vs. DCA: Denne versjonen bruker stilen DCT (Data Category as Tag) mens forrige brukte DCA (Data Category as Attribute). Se Data Category as Attribute / Data Category as Tag for forskjellen mellom DCT og DCA, og DCA-DCT Converter for konvertering mellom disse. DCT-stilen gjør det lettere å sammenligne denne standarden med bl.a. kapittel 3 i Forvaltningsstandard for begrepsbeskrivelser (SKOS-AP-NO-Begrep).
-
Datakategorier: Denne versjonen bruker datakategorier som finnes i internasjonale TBX-dialektene TBX Basic Module (f.eks.
basic:definition) og TBX Min Module (f.eks.min:administrativeStatus), supplert med datakategorier brukt i kapittel 3 i Forvaltningsstandard for begrepsbeskrivelser (SKOS-AP-NO-Begrep) (f.eks.skos:example). Forrige versjon brukte bare egendefinerte datakategorier som dessuten var basert på norske ord og uttrykk. Dette for å gjøre TBX-AP-NO mer kompatibel med eksisterende internasjonale TBX-dialekter og med SKOS-AP-NO-Begrep. -
Dokumentstrukturen: Denne versjonen er bygd opp etter TBX-strukturen mens forrige versjon var bygd opp etter krav til innhold. Dette skal gjøre det enklere å forstå og bruke standarden med tanke på TBX.
-
Detaljerte endringer: Det er store endringer sammenlignet med forrige versjon, med hensyn til både krav til innhold og TBX-representasjon av innhold. Detaljerte endringer beskrives derfor ikke her i endringsloggen.



